SWP-M30系列插拔式配电模块/二线制变送器隔离器
- 电 话:021-69028098
- 传 真:021-69028066
- 邮 箱:shkhyb@163.com
Description
SWP-M30系列插拔式配电模块选型表
| 型 号 | 代 码 | 说 明 | |||||||
| SWP-M30 | □ -□□ -□□ -□ -□ -□ -□ /□ | SWP-M30 系列配电模块 | |||||||
| 输入通道数 | 1 2 | 单路 | |||||||
| 模块功能 | D L | 配电模块 | |||||||
| 输入类型 | □□ | 参见 “输入类型” | |||||||
| 第一路 输出方式 | □ | 参见 “输出方式” | |||||||
| 第二路 输出方式 | □ | 参见 “输出方式” | |||||||
| 输出两路隔离 | A | 输出两路隔离 | |||||||
| 供 电 方 式 | N W T | AC220V(可省略) | |||||||
| 显 示 | D | 带显示模块 | |||||||
★ 输入类型
| 选型 代码 | 输入 类型 | 测量范围 | 选型 代码 | 输入类型 | 测量范围 | 选型 代码 | 输入类型 | 测量范围 |
| 01 | B | 400~1800 ℃ | 09 | Pt100.1 | -199.9~320.0℃ | 17 | 30~350Ω | -1999~9999 |
| 02 | S | 0 ~1600 ℃ | 10 | Cu50 | -50.0~150.0 ℃ | 18 | 特殊规格 | 用户定义 |
| 03 | K | 0 ~1300 ℃ | 11 | Cu100 | -50.0~150.0℃ | 19 | 4~20 mA开方 | -1999~9999 |
| 04 | E | 0 ~1000 ℃ | 12 | 4~20mA | -1999~9999 | 20 | 0~10mA开方 | -1999~9999 |
| 05 | T | -199.9~320.0℃ | 13 | 0~10 mA | -1999~9999 | 21 | 1~ 5 V开方 | -1999~9999 |
| 06 | J | 0 ~1200 ℃ | 14 | 1~5 V | -1999~9999 | 22 | 0~5 V开方 | -1999~9999 |
| 07 | WRe | 0 ~2300 ℃ | 15 | 0~5 V | -1999~9999 | 23 | 可切换输入 | |
| 08 | Pt100 | -200~650℃ | 16 | 0~20mA | -1999~9999 |
★ 输出方式
| 选型代码 | 0 | 1 | 2 | 3 | 4 | 5 | 6 |
| 输出方式 | 无输出 | 1~5V | 4~20mA | 继电器 | RS232 | RS485 | 特殊规格 |
SWP-M30系列智能变送单元概述
模块化设计;全新的结构;全可切信号输入;强EMC抗干扰;先进的SMT生产工业;性价比高
1.强大的功能
SWP-M30系列模块可带双通道,并且可组成不同系列模块的组合。热电阻/热电偶温度变送模块。电压/电力/频率转换模块。配电模块--它给二线制变送器提供电压的同时,接收来自变送器的与差压、压力、液面等成比例的4--20MA DC输出信号。数学运算模块--它将输入信号进行数学运算(开方、加减、乘除、比值等)后,转换为隔离的1--5V或4--20MA信号输出。
2.全新的结构
采用小型化插装式结构,易检修,易升级。采用EMC抗干扰屏蔽设计完善的软件功能,使仪表可靠性更高。进口五金弹簧,保证良好接触。
3.方便的网络
支持多机网络通讯。提供带光电隔离的RS232或RS485通讯接口方便与上位机连接。支持MODBUS、SWPBUS协议方便用户任意选择。面板提供TTL通讯接口,小型终端液晶显示器或PC进行通讯接口,即可编制各种装置特有画面,组成流程图报表、记录曲线等网络监控系统。
4.友好的界面
人机界面友好,人性化操作界面,简单方便。全可切信号输入,可编程输入,输出技术。双通道输入分度号可为不同的分度号。多种报警方式自由设定,多种输出方式选择。
技术参数
规 格 | 说 明 | |
功 能 | ·多种传感器输入功能:20种输入方式 ·高精度: ±0.2F.S或±0.3F.S ·多种输出功能:Relay,SSR,SCR ·通讯功能:RS232,RS485 ·变送(PV)输出:DCV,DCI ·馈电输出:DC24V,DC12V,DC5V | |
| 源 | 90-260VAC 50/60Hz 24VDC | |
功率消耗 | 6VA | |
显示类型 | 7段LED显示 [PV显示红色] [SV显示绿色] | |
显示精度 | F.S±0.1%或0.1℃ | |
设定类型 | 面板按键设定 | |
输入 | 热电偶 | K(CA),J(IC),B(PP),E(CR),T(CC),S(PR),W(TT) |
RTD | Cu50,Pt100,Pt100.1 | |
模拟信号 | 0-5VDC,1-5VDC,0-10mADC,4-20mADC | |
输出 | 继电器 | 250VAC 5A |
SSR | 24VDC ±3V 30mA Max | |
SCR | 400V/0.5A | |
电流 | 0-20mADC,4-20mADC 负载≤500Ω (PV 传送值) | |
电压 | 0-5VDC,1-5VDC 负载≤250Ω (PV 传送值) | |
馈电输出 | DC24V,DC12V,DC5V 30mA Max. | |
通讯 | 功能 | PV值,EV状态,MODBUS协议,SWPBUS协议 |
波特率 | 300~9600bps | |
接口 | RS232,RS485,TTL电平(面板) | |
报警输出 | 带回差报警输出 ON/OFF 全量程 | |
采样时间 | 0.5秒 | |
耐压 | AC 2000V 50/60Hz 1分钟 | |
抗振动 | 0.75mm的振幅,频率为10~55Hz X,Y,Z方向各2小时 | |
绝缘强度 | Min.100MΩ(at DC500V) | |
抗干扰 | 电快速瞬变脉冲群干扰±2kV | |
记忆保持 | 约:10年.(使用无电压半导体记忆型) | |
环境温度 | -10~50℃(未结冰状态) | |
储存温度 | -20~60℃(未结冰状态) | |
环境湿度 | 35~85%RH | |
重量 | 240~400g | |
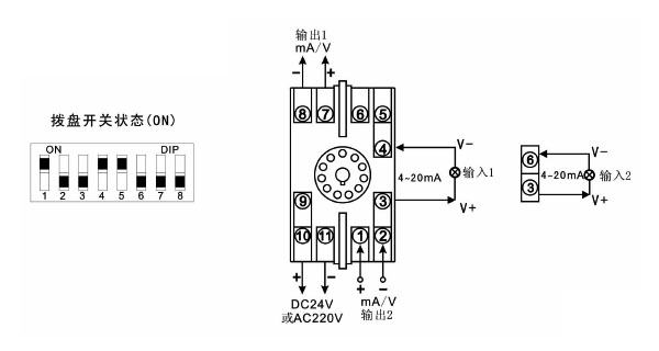
接线图
1、单路输入型
型号:SWP-M301-DL系列

2、双路输入型
型号:SWP-M302-DL系列




